اپل حق اختراع سانروف را از آن خود کرد

اپل حق اختراع سانروف را از آن خود کرد
مجله خبری بیکینگ – شرکت اپل در رقابت با تسلا اولین خودروی خود را طراحی کرده و قصد دارد آنها را در سال ۲۰۲۵ به بازارهای جهانی عرضه کند.
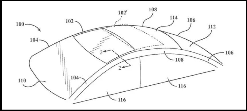
به گزارش سایت ۹to۵mac؛ به تازگی اداره ثبت اختراع آمریکا اجازه طراحی سانروف اتومبیل را به اپل داد. به همین علت غول فناوری آمریکا قصد دارد قابلیت سانروف را به خودروهای خود اضافه کند. براساس گزارشها، سانروف اپل دارای شیشه مات متغیر است، به این معنی که راننده میتواند شفافیت سانروف را تنظیم کند. همانطور که توسط MotorTrend اشاره شده ، این پتنت نشان میدهد که سانروف با پنجرههای جانبی باز میشود، در حالی که خودروهای فعلی با فناوریهای مشابه دارای سانروف ثابت هستند.
براساس گزارشها، ماشین جدید اپل علاوه بر سانروف دارای پانل متحرک است که قابل جابجایی دارد.رانندگان ماشین اپل با این پنل میتوانند انتخاب کنند که نور خورشید را بدون باز کردن سانروف وارد خودرو کنند یا آن را به طور کامل باز کنند تا هوای تازه دریافت کنند.
گزارشهای اخیر نشان میدهد که اپل همچنان به توسعه و آزمایش یک سیستم خودروی خودران جدید ادامه میدهد، در حالی که در مورد برنامههای تولید با شرکتهای دیگر نیز بحث کرده است. با این حال، حتی اگر همه شایعات درست باشند، عرضه Apple Car هنوز ۳-۴ سال باقی مانده است.
بیشتر بخوانید
- خودروی اپل با ویژگی های جدید می آید + تصاویر
انتهای پیام/
















